Support
Step by Step
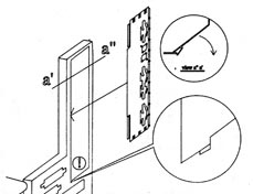
Install MainBoard
step1
step2
step3
Uninstall MainBoard
step1
step2
step3
step4